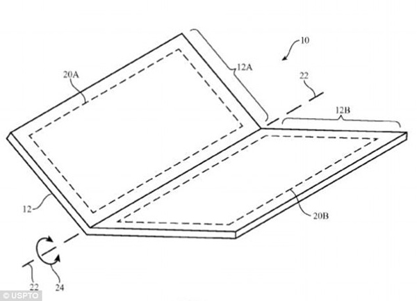
ایک حالیہ پیٹنٹ سے ظاہر ہے کہ ایل جی تہہ ہونے والے اسمارٹ فون پر کام کررہی ہے جس کی اسکرین بڑی ہوسکتی ہے۔